Control Theory and Informatics www.iiste.org ISSN 2224-5774 (print) ISSN 2225-0492 (online) Vol 2, No.3, 2012 A Robust RF-MRAS based Speed Estimator using Neural Network as a Reference Model for Sensor-less Vector Controlled IM Drives A. Venkadesan, Research Scholar Department of Electrical and Electronics Engineering Pondicherry Engineering College, Pondicherry, India E-mail: a_venkyeee@pec.edu S. Himavathi, Professor Department of Electrical and Electronics Engineering Pondicherry Engineering College, Pondicherry, India A. Muthuramalingam, Professor and Head Department of Electrical and Electronics Engineering Pondicherry Engineering College, Pondicherry, India The authors acknowledge the financial support of the Department of Science and Technology, Delhi for the grant of Junior Research Fellowship (JRF)-Professional to the first author for pursuing this research work. The research project titled “AI techniques for Electrical Drives” is supported by the grants from the All India Council for Technical Education (AICTE), a statutory body of Government of India. File Number: No 8023/BOR/RID/RPS- 79/2007-08 and 8020/RID/TAPTEC-32/2001-02. Abstract This paper proposes a robust MRAS based speed estimator for sensorless vector controlled IM drives. Rotor Flux based MRAS Model Reference Adaptive System (RF-MRAS) for rotor speed estimation is gaining popularity for its simplicity in sensorless vector controlled IM drives. In this scheme, the voltage model equations are used as the reference model. The voltage model equations in turn depend on stator resistance which varies with temperature during motor operation and more predominant at low frequencies/speed. Hence separate on-line estimator is required to track the stator resistance variation. The newly developed MRAS technique uses a robust Single Neuron Cascaded Neural Network (SNC-NN) based rotor flux estimator trained from input/output data as reference model in the place of the conventional voltage model in RF-MRAS to form a robust RF-MRAS based speed estimator. This makes the reference model robust to stator resistance variation without the need for separate Rs estimator. The performance of the proposed speed estimator is investigated extensively for various operating conditions. The performance of proposed MRAS is shown to work for wide range of operating conditions including zero speed operation. The robustness of the proposed RF-MRAS based speed estimator is demonstrated through MATLAB simulations and compared with the conventional RF-MRAS. Keywords: Robust Rotor Flux-Model Reference Adaptive System, Rotor flux estimator, neural network, SNC-NN model, Sensor-less operation, vector-controlled IM drives. 1. Introduction Advances in digital technology have made the vector control realizable by industries for high performance variable speed control applications. Various vector controlled techniques for induction motor drives have been proposed in the literature. In particular, sensor-less vector control is an emerging area. The speed sensor which is expensive, fragile, requires extra attention from failures under hostile environment and needs special enclosures and cabling is not needed for sensor-less closed loop control of Induction Motor (IM) drives. This leads to cheaper and more reliable control. The performance of sensor-less vector controlled IM drive depends to a large extent on the knowledge of motor speed. Various techniques for speed estimation have been suggested such as Model Reference Adaptive System (MRAS), Luenberger and Kalman filter Observers, Sliding Mode Observers. MRAS scheme offer simpler implementation and require less computational effort compared to other methods and therefore the most popular 1
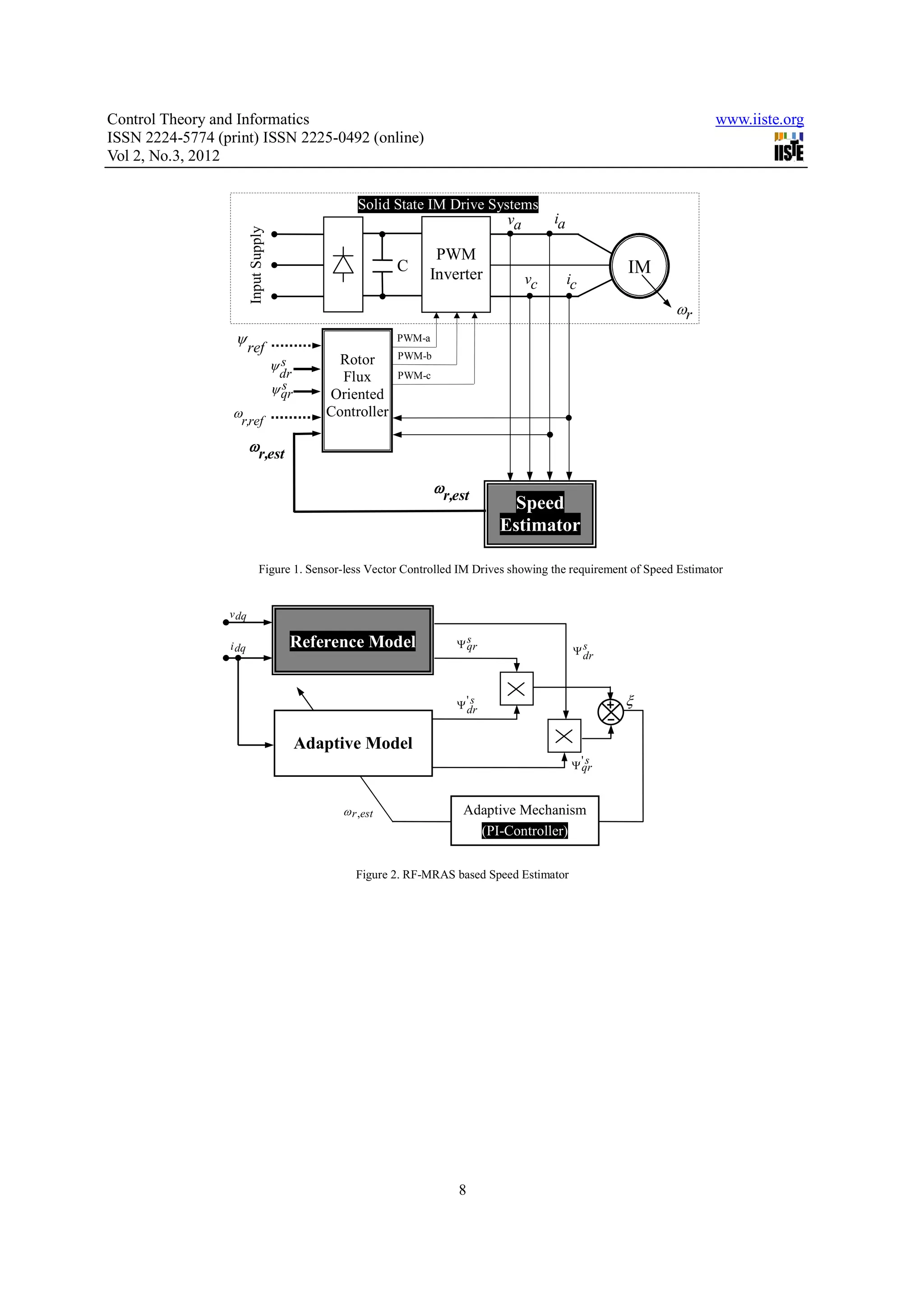
Control Theory and Informatics www.iiste.org ISSN 2224-5774 (print) ISSN 2225-0492 (online) Vol 2, No.3, 2012 strategies used for sensor-less control (Shady et al., 2009). Various MRAS schemes have been introduced in the literature based on rotor flux, back electromotive force, and reactive power (S.Maiti et al., 2008, 2010; P.Vas, 1998). However, rotor flux MRAS, first introduced by Schauder et al. (1992) is the most popular MRAS strategy. In this MRAS scheme, the conventional voltage model equations are used as the reference model. Conventional voltage model suffers from the problems of pure integrator and variation of stator resistance especially at low frequencies/speed (B.K.Bose, 2005; J.Holtz et al., 2003). Several techniques are proposed in the literature to overcome the problems of pure integrator (B.K. Bose et al., 1997; J.Hu et al., 1998). Stator resistance varies with temperature during motor operation and more predominant at low frequencies/speed. Numerous methods for on-line Rs estimation are proposed in the literature (B. Karanayil et al., 2007, 2005; N. Jaalam et al., 2011). But the additional Rs estimator would increases the complexity of the drive system. Neural Network (NN) based estimators provide an alternate solution for flux estimation. It dispenses the direct use of complex mathematical model of the machine and hence overcomes the problems of integrator. The nonlinear dynamic system mapping capability of neural network was well proven in the literature (K.S. Narendra et al., 1990). They can be trained to be adaptive for parameter variations. Several Neural Network methods are reported for flux estimation. Programmable-cascaded low pass filter was realized as a recurrent NN whose weights are obtained through a polynomial-NN (L.E.B. da Silva et al., 1999). Single Layer Feed-forward Neural Network (SLFF-NN) trained using input/output data is proposed for rotor flux estimation (Shady et al., 2009). It is shown to improve the performance of the drive at very low and near zero speed, provide immunity to motor parameter variations, remove low-pass filter/ integrator and reduce the error. The Heuristic Design methodology for Multilayer Feed-Forward NN based flux estimator is proposed (A.Venkadesan et al. 2010). A compact NN model with desired accuracy assumes importance in real implementation of on-line flux estimator to ensure faster estimation for effective control. Single Neuron Cascaded (SNC) NN model is identified and shown to provide distinctly compact NN model for on-line flux estimation (A.Muthuramalingam et al., 2010). In this paper, SNC-NN based flux estimator trained with data including Rs changes is proposed to eliminate the need separate for on-line Rs estimator. The designed robust SNC-NN model is proposed to replace the conventional voltage model in the RF-MRAS to form robust RF-MRAS based speed estimator. The performance of the robust RF- MRAS is investigated extensively for various operating conditions. The performance of proposed MRAS is shown to work for wide operating range of operating conditions including zero speed. The robustness of the proposed RF- MRAS based speed estimator is demonstrated through MATLAB simulations and compared with the conventional RF-MRAS. The paper is organized as follows. Section II details the sensor-less IM drives, RF-MRAS and its issues. Section III describes the SNC-NN based flux estimator. The performance study of the proposed robust RF-MRAS based speed estimator is carried out and simulation results are presented in section IV. The performance study of the proposed and conventional MRAS based speed estimation scheme for parameter variation are carried out and simulation results are presented in section V. Section VI concludes the paper. 2. Speed Sensor-less Vector Controlled IM Drives The speed sensor-less vector control of induction motor drive presented is indirect rotor flux field oriented control. Figure 1 shows the overall block diagram of the speed-sensor-less drive system of an induction motor. Generally through a PI controller, the speed error signal is processed and the torque command is generated. It is combined with the flux command corresponding to the flux error to generate the common reference to control the motor current. The reference is used to produce the PWM pulses to trigger the voltage source inverter and control the current and frequency applied to the IM drive. The performance of sensor-less vector controlled IM drive to a large extent depends on the accuracy of speed estimation. There are many speed estimation schemes available in the literature. Out of which, Rotor Flux Model Reference Adaptive System (RF-MRAS) is the most popular MRAS strategy. The general block diagram of MRAS scheme for speed estimation is shown in Figure 2. The MRAS scheme consists of a reference model which determines the desired states and adaptive (adjustable) model which generates the estimated values of the states. The error between these states is fed to an adaptation mechanism to generate an estimated value of the rotor speed which is used to adjust the adaptive model. This process continues till the error between two outputs tends to zero. A. RF-MRAS 2
Control Theory and Informatics www.iiste.org ISSN 2224-5774 (print) ISSN 2225-0492 (online) Vol 2, No.3, 2012 In RF-MRAS, the state variable used is the rotor flux. Conventional voltage model equations for rotor flux estimation are used as the reference model because it is independent of the rotor speed. The voltage model equations are given in (1). dΨs    d is   dr   v  i s   ds    dt  L   ds  ds  − σ L  dt   = r  v  −R  (1)  s  L s s  s  d s   d Ψ qr  m   qs  i qs     i qs    dt    dt        The current model equations for rotor flux estimation are used as the adaptive model because it is dependent on the rotor speed. The current model equations are given in (2).  d Ψ s   −1   dr   −ω  T r Ψ s  L ids   dt   r   dr  m   = + (2)  s   −1   Ψ s  T iqs   d Ψ qr  ω   qr  r    dt   r    T  r  Where, v s ( v qs ) ds s - Stator voltages d axis (q axis) s s i ds (i qs ) - Stator currents d axis (q axis) s s Ψ ds ( Ψ qs ) - Stator flux d axis (q axis) s s Ψ dr ( Ψ qr ) - Rotor flux d axis (q axis) R s( Rr ) - Stator resistance (rotor) L s( Lr ) - Stator inductance (rotor) Lm - Magnetization inductance L2 m -Leakage Co-Efficient σ = 1- Lr Ls Lr Tr = -Rotor Time Constant Rr With correct speed signal, ideally, the fluxes calculated from the reference model and those calculated from the adaptive model will match, that is, Ψ dr = Ψ 's and Ψ qr = Ψ 's , where Ψ dr and Ψ qr are reference model outputs and s dr s qr s s Ψ 's dr and Ψ 's are the adaptive model outputs. An adaptation algorithm with PI controller, as indicated, can be used to qr tune the speed (ωr ,est ) so that the error ξ = 0 . In designing the adaptation algorithm for the MRAS, it is important to take account of the overall stability of the system and ensure that the estimated speed will converge to the desired value with satisfactory dynamic characteristics. Using popov’s criteria for a globally asymptotically stable system, the following relation for speed estimation can be derived.   ωr ,est = ξ  K p + K i    (3)  S  ' s Ψ s − Ψ s Ψ' s ξ = Ψ dr qr (4) dr qr In steady state, ξ = 0 balancing the fluxes; in other words, s Ψ dr = Ψ 'dr and s s Ψ qr = Ψ 'qr s (5) From the equations (1), it is inferred that the voltage model used as the reference model in RF-MRAS are dependent on resistance Rs and inductances Ls, Lm, Lr. The variation of these parameters tends to reduce the accuracy of the flux estimation. Particularly, temperature variation of Rs becomes more dominant especially at low frequencies/speed. At higher frequencies, the influence of Rs variation on the estimator is negligible. A small mismatch in Rs between the motor and the estimator would cause the flux estimated from the voltage model based 3
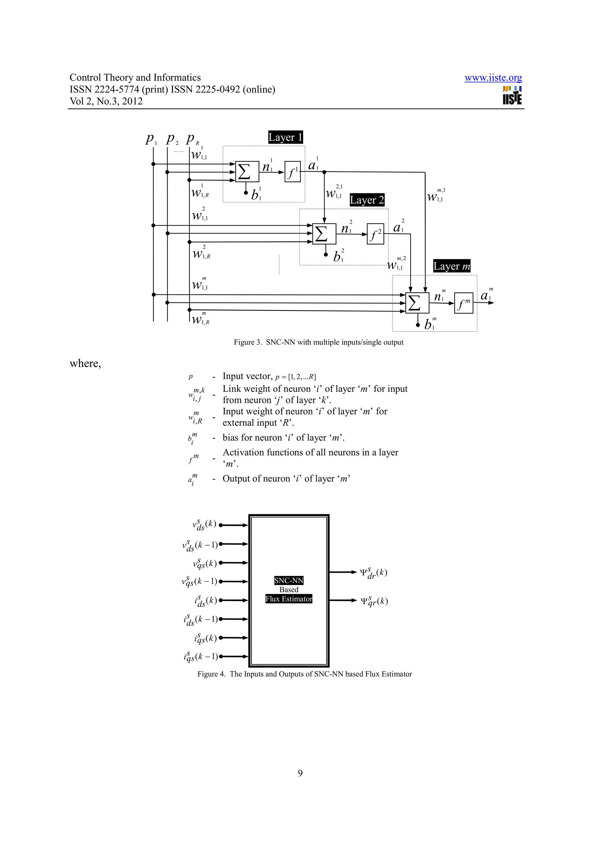
Control Theory and Informatics www.iiste.org ISSN 2224-5774 (print) ISSN 2225-0492 (online) Vol 2, No.3, 2012 estimator to get drift from the actual. This leads to large error in the speed estimation which would affect the overall sensorless operation of IM drives. A separate additional on-line Rs estimator may overcome this problem but it would increases the complexity of the drive system. Hence to overcome these problems, a Single Neuron Cascaded Neural Network (SNC-NN) based flux estimator trained with data including Rs changes is proposed to eliminate the need for separate on-line Rs estimator. The proposed Single Neuron Cascaded Neural Network based flux estimator is used to replace the conventional voltage model based flux estimator in RF-MRAS to form robust RF-MRAS. 3. Robust SNC-NN based Flux Estimator used as a Reference Model in RF-MRAS The data based flux estimator is designed using SNC-NN model. The Single Neuron Cascaded (SNC) architecture (A.Muthuramalingam et al., 2010) with multiple inputs/single output is shown in Figure 3. SNC-NN architecture consists of an input layer, hidden layers and an output layer. The first hidden layer receives only external signals as inputs. Other layers (M) receive external inputs and outputs from all previous (M-1) 1ayers. To create multilayer structure hidden layers are added one by one and the whole network trained repeatedly using the concept of moving weights so as to obtain compact network (A.Muthuramalingam et al., 2010). This process continues, till the performance index is reached. Cascading single neuron in every hidden layer in the “Single Neuron Cascaded” (SNC) architecture greatly simplifies the design process and can be self-organized which aids design automation similar to SLFF-NN. Thus SNC-NN combines the advantage of self organizing feature of SLFF-NN and power multilayer mapping capability of MLFF-NN. Also SNC-NN model is identified and shown to provide distinctly compact NN model for on-line flux estimation (A.Muthuramalingam et al., 2010). Hence in this paper, SNC-NN model is chosen to model the on-line Flux Estimator. The indirect field oriented controlled (IFOC) IM drive system with sinusoidal pulse width modulation is built using MATLAB with switching frequency of 10 KHz. The present and past samples of the d-q components of the stator s s s s voltages { v ds ( k ) , v ds ( k − 1) , v qs ( k ) , v qs ( k − 1) } and stator currents { i ds ( k ) , i ds ( k − 1) , i s ( k ) , i qs ( k − 1) }are used as the inputs to s s s qs s s the SNC-NN Model. The outputs are the direct and quadrature axis rotor fluxes { Ψ dr ( k ) , Ψ qr (k ) }. The block diagram of SNC-NN based flux estimator is shown in Figure 4. The vector controlled IM drive is the variable frequency drive. Hence, equal number of data sets for all operating conditions is used to train the network. Around 11,266 data sets are obtained from the IFOC System for various operating conditions. In the literature, it is reported that the change in Rs may go upto 50% (B. Karanayil et al., 2007, 2005). Hence, to make SNC-NN robust to parameter variation, maximum of 50% change in Rs variation is incorporated in the training data sets. The activation function for hidden layers and output layer is chosen as tan-sigmoid and pure linear function respectively. The SNC-NN is trained with input/output data using LM algorithm for the required Mean Square Error (MSE) of 1.88876×10-6.The obtained SNC-NN model for flux estimation has the structure 8-13(h)-2 (h-hidden layer with one neuron). The obtained SNC-NN model for flux estimation replaces the conventional voltage model in the RF-MRAS to form “robust RF-MRAS”. 4. Performance of Proposed Robust RF-MRAS based Speed Estimator The performance of proposed robust RF-MRAS scheme is tested for speed estimation for various operating conditions extensively through MATLAB simulations. Sample results for the major test conditions are presented in the following sections. 1) Test 1- Stair Case Speed Transients from 148 to 0 to −148 rad/sec at No Load: In this test, the IM drive is subjected to a stair case speed commands from 148 rad/sec to zero speed in a series of five 40 rad/sec steps continuing to −148 rad/sec, at no load. The performance of robust RF-MRAS is shown in Figure 5. The rotor fluxes estimated from the proposed flux estimator tracks the actual with negligible error for all the speed commands including the zero speed. The speed estimated from the proposed MRAS scheme is also found to closely track with the actual. The results depict Stable operation of the proposed MRAS scheme, particularly around zero speed. 2) Test 2- Load Torque Change from 0% to 100% at 148rad/sec: The test 2 examines the load torque disturbance capability of the proposed MRAS based speed estimation scheme. The drive is operated with reference speed of 148rad/sec. 100% step change in load torque is applied at 1.5sec. The proposed robust MRAS shows better steady state and dynamic performance with negligible error between the actual 4
Control Theory and Informatics www.iiste.org ISSN 2224-5774 (print) ISSN 2225-0492 (online) Vol 2, No.3, 2012 and estimated speed, as shown in Figure 6. The estimated rotor speed undershoots similar to actual speed and settles faster with the actual as soon as the step change in load torque is applied. 3) Test 3- Load Torque Change from 100% to 50% at 148rad/sec: The test 3 also examines the load torque change capability of the robust RF-MRAS. The drive is initially operated with the speed command of 148rad/sec with 100% load condition and suddenly the load torque is reduced to 50% at 1.5sec. In this case also, the speed estimated from the proposed robust RF-MRAS is found to closely match with the actual with negligible error. The estimated speed overshoots similar to the actual speed and settles faster with the actual as soon as the load torque is suddenly reduced to 50%, as presented in Figure 7. 4) Test 4- ±148 rad/sec Speed at No Load: The test 4 examines the speed reversal capability of proposed speed estimation scheme. Initially, the drive is operated with the speed command of 148rad/sec. The slow speed reversal is taking place during 1.5-2 sec. The command speed is fixed to -148rad/sec after 2sec. The performance of proposed speed estimation scheme is shown in Figure 8. The proposed speed estimation scheme shows better performance. The speed estimated is found to closely match with the actual with negligible error. The proposed MRAS scheme works for wide range of operating conditions from 148 (rad/sec) to -148 (rad/sec) including zero speed operation. The error between the actual and the estimated speed from the proposed RF-MRAS for various operating conditions are consolidated and presented in Table I. The error in the speed estimated from the proposed MRAS scheme is found to be within ±0.4% for normal operating speeds. At very low operating speeds, the error is found to be within ±1.4%. 4. Performance Comparison of Proposed robust RF-MRAS and Conventional RF-MRAS based speed Estimator for Stator Resistance Variation The performance of proposed robust RF-MRAS and conventional RF-MRAS is tested for step change in stator resistance variation. Of course, in a real drive, the stator resistance never undergoes abrupt variations in response to temperature change due to the large thermal time constant. The step variation represents an extreme case and is used to show the robustness of the proposed MRAS. The effect of Rs variation is investigated at very low speed of 1rad/sec with 50% load condition. Two different cases for stator resistance detuning are considered. (a) Slight Rs detuning: The actual Rs of the induction motor are slightly detuned with respect to the nominal ones, as follows: ∆Rs = −5% (6) Rs In this case, 5% step change in Rs is effected at 2sec. The locus diagram of rotor fluxes for the robust SNC-NN model and voltage model are presented in Figure 9(a) and (b) respectively. It is understood that the locus diagram of rotor fluxes of robust SNC-NN model closely tracks the locus of the actual flux and it is centered on the origin similar to the actual flux. The radius of the locus of the proposed flux estimator is also found to be similar to the actual flux. In the case of voltage model based flux estimator, the locus of rotor fluxes is not centered on the origin and it is shifted away from the origin approximately 0.05433wb. The radius of the locus of the voltage model based flux estimator is also observed to get increased approximately by 4.777%. Hence, the proposed robust SNC-NN based flux estimator is found to estimate the flux components with good accuracy even when there is change in the Rs with d and q-axis rotor flux MSE of 1.124×10-6 and 1.723×10-6 respectively. The speed estimated from the robust RF-MRAS and conventional RF-MRAS is presented in Figure 10(a) and (b) respectively. From the results obtained, it is obvious that the speed estimated from the robust RF-MRAS tracks closely the actual speed even when there is a change in the Rs and the error in the speed estimation is almost negligible. But, the speed estimated from the RF-MRAS fluctuates between -0.1798 (rad/sec) to 1.0873 (rad/sec). 5
Control Theory and Informatics www.iiste.org ISSN 2224-5774 (print) ISSN 2225-0492 (online) Vol 2, No.3, 2012 4.2 Large Rs detuning: In many real applications, the Rs may vary on ranges which are larger than those considered in previous section. In order to check the robustness of the proposed speed estimator in the presence of larger detuning, the actual Rs of the induction motor are largely detuned with respect to the nominal ones, as follows: ∆Rs = −50% (7) Rs 50% step change in Rs is effected at 2sec. The locus diagram of rotor fluxes for the proposed robust SNC-NN model and voltage model are presented in Figure 11 (a) and (b) respectively. From the results obtained, it is observed that even in the case of large parameter detuning, the locus of the robust SNC-NN model tracks the actual flux locus very well. But the centre of the locus of flux estimated from the voltage model is shifted largely away from the origin approximately 0.3741wb which is 588.569% times larger than the previous one. The radius is also observed to get increased approximately by 56.871% which is much larger than the previous one. The robust speed estimation is observed from the proposed speed estimator even in the case of large parameter detuning which is presented in Figure 12(b). The speed estimated using RF-MRAS oscillates between - 29.6098 (rad/sec) to 0.3144 (rad/sec) which is evident from Figure 12 (a). Thus the centre and radius of the locus of flux estimated from the voltage model keeps on increases with increase in Rs. This leads to increase of oscillation in the estimated speed using voltage model. The conventional RF-MRAS can also be made robust to Rs variation with an additional on-line Rs estimator which would increase the complexity of the drive system. Thus the NN based estimator, trained with parameter variations result in the robust NN based flux estimator. The robust NN based estimator used as the reference model in RF-MRAS which result in the robust RF-MARS. This in turn results in robust speed estimation even in the presence of Rs variation. 5. Conclusion This paper proposes a robust RF-MRAS for speed estimation over wide operating range in sensorless IM drives. The robust data based flux estimator is designed using SNC-NN model with data including Rs variation to avoid the requirement of separate need for on-line Rs estimator. The designed robust NN based flux estimator is proposed to replace the conventional voltage model in RF-MRAS to from a robust RF-MRAS. The performance of proposed MRAS is extensively investigated for various operating conditions. The proposed MRAS is shown to work for wide range of operating conditions including zero speed. The error in the speed estimated from the proposed MRAS scheme is found to be within ±0.4% for normal operating speeds. At very low operating speeds, the error is found to be within ±1.4%.The robustness of proposed MRAS scheme is illustrated for parameter variation and found to outperform the conventional RF-MRAS scheme. The advantages of the Proposed MRAS scheme are: independent of stator resistance, the reference model in proposed robust RF-MRAS is free from the integrator related problems, and the reference model in the proposed MRAS is computationally less rigorous as compared to the integral equations as involved in the reference model of conventional RF-MRAS. Thus the proposed robust RF-MRAS based speed estimation scheme is shown to perform well under all operating conditions including Rs variation. Hence it is concluded that a robust RF-MRAS based speed estimator is a promising technique for speed estimation in sensor-less vector controlled IM drives. APPENDIX The parameters of the induction machine used for simulation are given in the table shown below. INDUCTION MOTOR PARAMETERS Parameters Values Parameters Values Rated Power 1.1kW Stator Resistance (Rs) 6.03 Rated voltage 415V Rotor Resistance (Rr) 6.085 Rated current 2.77A Magnetizing Inductance (Lm) 0.4893H Type 3 Ph Stator Inductance (Ls) 0.5192H Frequency 50Hz Rotor Inductance (Lr) 0.5192H Number of poles 4 Total Inertia (JT) 0.011787Kgm2 Rated Speed 1415RPM Friction Coefficient (B) 0.0027Kgm2/s 6
Control Theory and Informatics www.iiste.org ISSN 2224-5774 (print) ISSN 2225-0492 (online) Vol 2, No.3, 2012 References Shady M.Gadoue, Damian Giaouris, John W.Finch (2009) Sensorless Control of Induction Motor Drives at very Low and Zero Speeds Using Neural Network Flux Observers. IEEE Transactions on Industrial Electronics 56(8): 3029-3039.doi: 10.1109/TIE.2009.2024665 S.Maiti, C. Chakraborty, Y.Hori and M.C. Ta (2008) Model reference adaptive controller-based rotor resistance and speed estimation techniques for vector controlled induction motor drive utilizing reactive power. IEEE Transactions on Industrial Electronics 55(2): 594-601. doi: 10.1109/TIE.2007.911952 S.Maiti and C. Chakraborty (2010) A new instantaneous reactive power based MRAS for sensorless induction motor drive. Simulation Modelling Practice and Theory 18: 1314-1326. doi: 10.1016/j.simpat.2010.05.005 P. Vas (1998), Sensorless Vector and Direct Torque Control, NewYork:Oxford Univ. Press Colin Schauder (1992) Adaptive Speed Identification for Vector Control of Induction Motors without Rotational Transducers. IEEE Transactions on Industry Applications 28(5).1054-1061 Bimal K. Bose (2005) Modern Power Electronics and AC Drives. Prentice-Hall. India J.Holtz, J.Quan (2003) Drift- and Parameter-Compensated Flux Estimator for Persistent Zero-Stator- Frequency Operation of Sensorless-Controlled Induction Motors. IEEE Transactions on Industry Applications 39(4): 1052-1060.doi: 10.1109/TIA.2003.813726 B.K.Bose, N.R.Patel (1997) A Programmable Cascaded Low-Pass Filter-Based Flux Synthesis for a Stator Flux-Oriented Vector-Controlled Induction Motor Drive. IEEE Transactions on Industrial Electronics 44(1):140-143. J.Hu, B.Wu (1998) New Integration Algorithms for Estimating Motor Flux over a Wide Speed Range. IEEE Transactions on Power Electronics 13(5):969-977 B. Karanayil, M.F.Rahman and C.Grantham (2007) Online Stator and Rotor Resistance Estimation Scheme Using Artificial Neural Networks for Vector Controlled Speed Sensorless Induction Motor Drive. IEEE Transactions on Industrial Electronics 54(1):167-176. doi: 10.1109/TIE.2006.888778 B. Karanayil, M.F.Rahman and C.Grantham (2005) Stator and Rotor Resistance Observers for Induction Motor Drive Using Fuzzy Logic and Artificial Neural Networks. IEEE Transactions on Energy Conversion 20(4):771- 780. doi: 10.1109/TEC.2005.853761 N. Jaalam, A.M.A.Haidar, N.L.Ramli, N.L.Ismail and A.S.M.Sulaiman (2011) A Neuro-fuzzy Approach for Stator Resistance Estimation of Induction Motor. International Conference on Electrical, Control and Computer Engineering 394-398. K.S.Narendra, K.Parthasarathy (1990) Identification and Control of Dynamical Systems Using Neural Networks. IEEE Transactions on Neural Networks 1(1):4-27 Luiz.E.B.daSilva,B.K.Bose,Joao.o.p.Pinto (1999) Recurrent-Neural-Network-Based Implementation of a Programmable Cascaded Low-Pass Filter Used in Stator Flux Synthesis of Vector-Controlled Induction Motor Drive. IEEE Transactions on Industrial Electronics 46(3):662-665 A.Venkadesan, S.Himavathi, and A.Muthuramalingam (2010) Design of Feed-Forward Neural Network Based On-line Flux Estimator for Sensor-less Vector Controlled Induction Motor Drives. International Journal of Recent Trends in Engineering and Technology 4(3):110-114 A.Muthuramalingam, A.Venkadesan and S.Himavathi (2010) On-Line Flux Estimator using Single Neuron Cascaded Neural Network Model for Sensor-less Vector Controlled Induction Motor Drives. (ICSDC-2010), Manipal Insititute of Technology, Manipal, India: 96-100 7
Control Theory and Informatics www.iiste.org ISSN 2224-5774 (print) ISSN 2225-0492 (online) Vol 2, No.3, 2012 Solid State IM Drive Systems va ia Input Supply PWM C Inverter IM vc ic ωr ψ PWM-a ref PWM-b ψs Rotor dr Flux PWM-c s ψ qr Oriented ω Controller r,ref ωr,est ωr,est Speed Estimator Figure 1. Sensor-less Vector Controlled IM Drives showing the requirement of Speed Estimator v dq Reference Model s Ψ qr i dq s Ψ dr Ψ 'dr s ξ Adaptive Model Ψ 'qr s ω r ,est Adaptive Mechanism (PI-Controller) Figure 2. RF-MRAS based Speed Estimator 8
Control Theory and Informatics www.iiste.org ISSN 2224-5774 (print) ISSN 2225-0492 (online) Vol 2, No.3, 2012 p p p 1 2 R Layer 1 1 w 1,1 1 1 n a ∑ 1 f 1 1 1 2,1 w 1,R b 1 1 w 1,1 Layer 2 w m ,1 1,1 2 w 1,1 2 2 n a ∑ 1 f 2 1 2 w 1,R b 2 1 m ,2 w1,1 Layer m m w 1,1 m m n a m ∑ 1 f m 1 w 1, R b m 1 Figure 3. SNC-NN with multiple inputs/single output where, p - Input vector, p = [1, 2, ...R] m, k Link weight of neuron ‘i’ of layer ‘m’ for input w i, j - from neuron ‘j’ of layer ‘k’. m Input weight of neuron ‘i’ of layer ‘m’ for w i,R - external input ‘R’. m b i - bias for neuron ‘i’ of layer ‘m’. m Activation functions of all neurons in a layer f - ‘m’. m a i - Output of neuron ‘i’ of layer ‘m’ s v ds ( k ) s v ds ( k − 1) s v qs ( k ) s Ψ dr ( k ) s v qs ( k − 1) SNC-NN Based s Flux Estimator s i ds ( k ) Ψ qr ( k ) s i ds ( k − 1) s i qs ( k ) s i qs ( k − 1) Figure 4. The Inputs and Outputs of SNC-NN based Flux Estimator 9
Control Theory and Informatics www.iiste.org ISSN 2224-5774 (print) ISSN 2225-0492 (online) Vol 2, No.3, 2012 (a) (b) Figure 5. Performance Curves for Test Condition-1 : (a) Rotor Fluxes (b) Rotor Speed (a) (b) Figure 6. Performance Curves for Test Condition-2 : (a) Rotor Fluxes (b) Rotor Speed (a) (b) Figure 7. Performance Curves for Test Condition-3 : (a) Rotor Fluxes (b) Rotor Speed (a) (b) Figure 8. Performance Curves for Test Condition-4 : (a) Rotor Fluxes (b) Rotor Speed 10
Control Theory and Informatics www.iiste.org ISSN 2224-5774 (print) ISSN 2225-0492 (online) Vol 2, No.3, 2012 (b) (b) Figure 9. Locus of Rotor Fluxes with Slight Rs Detuning: (a) Voltage Model (b) Robust SNC-NN Model (b) (b) Figure 10. Rotor Speed with Slight Rs Detuning: (a) RF-MRAS (b) Robust RF-MRAS (b) (b) Figure 11. Locus of Rotor Fluxes with Large Rs Detuning: (a) Voltage Model (b) Robust SNC-NN Model (c) (b) Figure 12. Rotor Speed with Large Rs Detuning: (a) RF-MRAS (b) Robust RF-MRAS 11
Control Theory and Informatics www.iiste.org ISSN 2224-5774 (print) ISSN 2225-0492 (online) Vol 2, No.3, 2012 TABLE I PERFORMANCE OF THE PROPOSED RF-MRAS BASED SPEED ESTIMATOR FOR VARIOUS SPEED COMMANDS Command Actual Speed Estimated Speed using Speed %Error (rad/sec) Robust RF-MRAS (rad/sec) (rad/sec) 148 147.9998 147.9255 0.05022 75 75.0015 74.9623 0.05160 35 34.9976 34.9891 0.02428 25 25.0012 24.9966 0.01839 15 14.9996 14.9971 0.01666 5 4.9884 5.0074 0.38088 12
This academic article was published by The International Institute for Science, Technology and Education (IISTE). The IISTE is a pioneer in the Open Access Publishing service based in the U.S. and Europe. The aim of the institute is Accelerating Global Knowledge Sharing. More information about the publisher can be found in the IISTE’s homepage: http://www.iiste.org The IISTE is currently hosting more than 30 peer-reviewed academic journals and collaborating with academic institutions around the world. Prospective authors of IISTE journals can find the submission instruction on the following page: http://www.iiste.org/Journals/ The IISTE editorial team promises to the review and publish all the qualified submissions in a fast manner. All the journals articles are available online to the readers all over the world without financial, legal, or technical barriers other than those inseparable from gaining access to the internet itself. Printed version of the journals is also available upon request of readers and authors. IISTE Knowledge Sharing Partners EBSCO, Index Copernicus, Ulrich's Periodicals Directory, JournalTOCS, PKP Open Archives Harvester, Bielefeld Academic Search Engine, Elektronische Zeitschriftenbibliothek EZB, Open J-Gate, OCLC WorldCat, Universe Digtial Library , NewJour, Google Scholar

A robust rf mras based speed estimator using neural network as a reference model for sensor-less vector controlled im drives

  • 1.
    Control Theory andInformatics www.iiste.org ISSN 2224-5774 (print) ISSN 2225-0492 (online) Vol 2, No.3, 2012 A Robust RF-MRAS based Speed Estimator using Neural Network as a Reference Model for Sensor-less Vector Controlled IM Drives A. Venkadesan, Research Scholar Department of Electrical and Electronics Engineering Pondicherry Engineering College, Pondicherry, India E-mail: a_venkyeee@pec.edu S. Himavathi, Professor Department of Electrical and Electronics Engineering Pondicherry Engineering College, Pondicherry, India A. Muthuramalingam, Professor and Head Department of Electrical and Electronics Engineering Pondicherry Engineering College, Pondicherry, India The authors acknowledge the financial support of the Department of Science and Technology, Delhi for the grant of Junior Research Fellowship (JRF)-Professional to the first author for pursuing this research work. The research project titled “AI techniques for Electrical Drives” is supported by the grants from the All India Council for Technical Education (AICTE), a statutory body of Government of India. File Number: No 8023/BOR/RID/RPS- 79/2007-08 and 8020/RID/TAPTEC-32/2001-02. Abstract This paper proposes a robust MRAS based speed estimator for sensorless vector controlled IM drives. Rotor Flux based MRAS Model Reference Adaptive System (RF-MRAS) for rotor speed estimation is gaining popularity for its simplicity in sensorless vector controlled IM drives. In this scheme, the voltage model equations are used as the reference model. The voltage model equations in turn depend on stator resistance which varies with temperature during motor operation and more predominant at low frequencies/speed. Hence separate on-line estimator is required to track the stator resistance variation. The newly developed MRAS technique uses a robust Single Neuron Cascaded Neural Network (SNC-NN) based rotor flux estimator trained from input/output data as reference model in the place of the conventional voltage model in RF-MRAS to form a robust RF-MRAS based speed estimator. This makes the reference model robust to stator resistance variation without the need for separate Rs estimator. The performance of the proposed speed estimator is investigated extensively for various operating conditions. The performance of proposed MRAS is shown to work for wide range of operating conditions including zero speed operation. The robustness of the proposed RF-MRAS based speed estimator is demonstrated through MATLAB simulations and compared with the conventional RF-MRAS. Keywords: Robust Rotor Flux-Model Reference Adaptive System, Rotor flux estimator, neural network, SNC-NN model, Sensor-less operation, vector-controlled IM drives. 1. Introduction Advances in digital technology have made the vector control realizable by industries for high performance variable speed control applications. Various vector controlled techniques for induction motor drives have been proposed in the literature. In particular, sensor-less vector control is an emerging area. The speed sensor which is expensive, fragile, requires extra attention from failures under hostile environment and needs special enclosures and cabling is not needed for sensor-less closed loop control of Induction Motor (IM) drives. This leads to cheaper and more reliable control. The performance of sensor-less vector controlled IM drive depends to a large extent on the knowledge of motor speed. Various techniques for speed estimation have been suggested such as Model Reference Adaptive System (MRAS), Luenberger and Kalman filter Observers, Sliding Mode Observers. MRAS scheme offer simpler implementation and require less computational effort compared to other methods and therefore the most popular 1
  • 2.
    Control Theory andInformatics www.iiste.org ISSN 2224-5774 (print) ISSN 2225-0492 (online) Vol 2, No.3, 2012 strategies used for sensor-less control (Shady et al., 2009). Various MRAS schemes have been introduced in the literature based on rotor flux, back electromotive force, and reactive power (S.Maiti et al., 2008, 2010; P.Vas, 1998). However, rotor flux MRAS, first introduced by Schauder et al. (1992) is the most popular MRAS strategy. In this MRAS scheme, the conventional voltage model equations are used as the reference model. Conventional voltage model suffers from the problems of pure integrator and variation of stator resistance especially at low frequencies/speed (B.K.Bose, 2005; J.Holtz et al., 2003). Several techniques are proposed in the literature to overcome the problems of pure integrator (B.K. Bose et al., 1997; J.Hu et al., 1998). Stator resistance varies with temperature during motor operation and more predominant at low frequencies/speed. Numerous methods for on-line Rs estimation are proposed in the literature (B. Karanayil et al., 2007, 2005; N. Jaalam et al., 2011). But the additional Rs estimator would increases the complexity of the drive system. Neural Network (NN) based estimators provide an alternate solution for flux estimation. It dispenses the direct use of complex mathematical model of the machine and hence overcomes the problems of integrator. The nonlinear dynamic system mapping capability of neural network was well proven in the literature (K.S. Narendra et al., 1990). They can be trained to be adaptive for parameter variations. Several Neural Network methods are reported for flux estimation. Programmable-cascaded low pass filter was realized as a recurrent NN whose weights are obtained through a polynomial-NN (L.E.B. da Silva et al., 1999). Single Layer Feed-forward Neural Network (SLFF-NN) trained using input/output data is proposed for rotor flux estimation (Shady et al., 2009). It is shown to improve the performance of the drive at very low and near zero speed, provide immunity to motor parameter variations, remove low-pass filter/ integrator and reduce the error. The Heuristic Design methodology for Multilayer Feed-Forward NN based flux estimator is proposed (A.Venkadesan et al. 2010). A compact NN model with desired accuracy assumes importance in real implementation of on-line flux estimator to ensure faster estimation for effective control. Single Neuron Cascaded (SNC) NN model is identified and shown to provide distinctly compact NN model for on-line flux estimation (A.Muthuramalingam et al., 2010). In this paper, SNC-NN based flux estimator trained with data including Rs changes is proposed to eliminate the need separate for on-line Rs estimator. The designed robust SNC-NN model is proposed to replace the conventional voltage model in the RF-MRAS to form robust RF-MRAS based speed estimator. The performance of the robust RF- MRAS is investigated extensively for various operating conditions. The performance of proposed MRAS is shown to work for wide operating range of operating conditions including zero speed. The robustness of the proposed RF- MRAS based speed estimator is demonstrated through MATLAB simulations and compared with the conventional RF-MRAS. The paper is organized as follows. Section II details the sensor-less IM drives, RF-MRAS and its issues. Section III describes the SNC-NN based flux estimator. The performance study of the proposed robust RF-MRAS based speed estimator is carried out and simulation results are presented in section IV. The performance study of the proposed and conventional MRAS based speed estimation scheme for parameter variation are carried out and simulation results are presented in section V. Section VI concludes the paper. 2. Speed Sensor-less Vector Controlled IM Drives The speed sensor-less vector control of induction motor drive presented is indirect rotor flux field oriented control. Figure 1 shows the overall block diagram of the speed-sensor-less drive system of an induction motor. Generally through a PI controller, the speed error signal is processed and the torque command is generated. It is combined with the flux command corresponding to the flux error to generate the common reference to control the motor current. The reference is used to produce the PWM pulses to trigger the voltage source inverter and control the current and frequency applied to the IM drive. The performance of sensor-less vector controlled IM drive to a large extent depends on the accuracy of speed estimation. There are many speed estimation schemes available in the literature. Out of which, Rotor Flux Model Reference Adaptive System (RF-MRAS) is the most popular MRAS strategy. The general block diagram of MRAS scheme for speed estimation is shown in Figure 2. The MRAS scheme consists of a reference model which determines the desired states and adaptive (adjustable) model which generates the estimated values of the states. The error between these states is fed to an adaptation mechanism to generate an estimated value of the rotor speed which is used to adjust the adaptive model. This process continues till the error between two outputs tends to zero. A. RF-MRAS 2
  • 3.
    Control Theory andInformatics www.iiste.org ISSN 2224-5774 (print) ISSN 2225-0492 (online) Vol 2, No.3, 2012 In RF-MRAS, the state variable used is the rotor flux. Conventional voltage model equations for rotor flux estimation are used as the reference model because it is independent of the rotor speed. The voltage model equations are given in (1). dΨs    d is   dr   v  i s   ds    dt  L   ds  ds  − σ L  dt   = r  v  −R  (1)  s  L s s  s  d s   d Ψ qr  m   qs  i qs     i qs    dt    dt        The current model equations for rotor flux estimation are used as the adaptive model because it is dependent on the rotor speed. The current model equations are given in (2).  d Ψ s   −1   dr   −ω  T r Ψ s  L ids   dt   r   dr  m   = + (2)  s   −1   Ψ s  T iqs   d Ψ qr  ω   qr  r    dt   r    T  r  Where, v s ( v qs ) ds s - Stator voltages d axis (q axis) s s i ds (i qs ) - Stator currents d axis (q axis) s s Ψ ds ( Ψ qs ) - Stator flux d axis (q axis) s s Ψ dr ( Ψ qr ) - Rotor flux d axis (q axis) R s( Rr ) - Stator resistance (rotor) L s( Lr ) - Stator inductance (rotor) Lm - Magnetization inductance L2 m -Leakage Co-Efficient σ = 1- Lr Ls Lr Tr = -Rotor Time Constant Rr With correct speed signal, ideally, the fluxes calculated from the reference model and those calculated from the adaptive model will match, that is, Ψ dr = Ψ 's and Ψ qr = Ψ 's , where Ψ dr and Ψ qr are reference model outputs and s dr s qr s s Ψ 's dr and Ψ 's are the adaptive model outputs. An adaptation algorithm with PI controller, as indicated, can be used to qr tune the speed (ωr ,est ) so that the error ξ = 0 . In designing the adaptation algorithm for the MRAS, it is important to take account of the overall stability of the system and ensure that the estimated speed will converge to the desired value with satisfactory dynamic characteristics. Using popov’s criteria for a globally asymptotically stable system, the following relation for speed estimation can be derived.   ωr ,est = ξ  K p + K i    (3)  S  ' s Ψ s − Ψ s Ψ' s ξ = Ψ dr qr (4) dr qr In steady state, ξ = 0 balancing the fluxes; in other words, s Ψ dr = Ψ 'dr and s s Ψ qr = Ψ 'qr s (5) From the equations (1), it is inferred that the voltage model used as the reference model in RF-MRAS are dependent on resistance Rs and inductances Ls, Lm, Lr. The variation of these parameters tends to reduce the accuracy of the flux estimation. Particularly, temperature variation of Rs becomes more dominant especially at low frequencies/speed. At higher frequencies, the influence of Rs variation on the estimator is negligible. A small mismatch in Rs between the motor and the estimator would cause the flux estimated from the voltage model based 3
  • 4.
    Control Theory andInformatics www.iiste.org ISSN 2224-5774 (print) ISSN 2225-0492 (online) Vol 2, No.3, 2012 estimator to get drift from the actual. This leads to large error in the speed estimation which would affect the overall sensorless operation of IM drives. A separate additional on-line Rs estimator may overcome this problem but it would increases the complexity of the drive system. Hence to overcome these problems, a Single Neuron Cascaded Neural Network (SNC-NN) based flux estimator trained with data including Rs changes is proposed to eliminate the need for separate on-line Rs estimator. The proposed Single Neuron Cascaded Neural Network based flux estimator is used to replace the conventional voltage model based flux estimator in RF-MRAS to form robust RF-MRAS. 3. Robust SNC-NN based Flux Estimator used as a Reference Model in RF-MRAS The data based flux estimator is designed using SNC-NN model. The Single Neuron Cascaded (SNC) architecture (A.Muthuramalingam et al., 2010) with multiple inputs/single output is shown in Figure 3. SNC-NN architecture consists of an input layer, hidden layers and an output layer. The first hidden layer receives only external signals as inputs. Other layers (M) receive external inputs and outputs from all previous (M-1) 1ayers. To create multilayer structure hidden layers are added one by one and the whole network trained repeatedly using the concept of moving weights so as to obtain compact network (A.Muthuramalingam et al., 2010). This process continues, till the performance index is reached. Cascading single neuron in every hidden layer in the “Single Neuron Cascaded” (SNC) architecture greatly simplifies the design process and can be self-organized which aids design automation similar to SLFF-NN. Thus SNC-NN combines the advantage of self organizing feature of SLFF-NN and power multilayer mapping capability of MLFF-NN. Also SNC-NN model is identified and shown to provide distinctly compact NN model for on-line flux estimation (A.Muthuramalingam et al., 2010). Hence in this paper, SNC-NN model is chosen to model the on-line Flux Estimator. The indirect field oriented controlled (IFOC) IM drive system with sinusoidal pulse width modulation is built using MATLAB with switching frequency of 10 KHz. The present and past samples of the d-q components of the stator s s s s voltages { v ds ( k ) , v ds ( k − 1) , v qs ( k ) , v qs ( k − 1) } and stator currents { i ds ( k ) , i ds ( k − 1) , i s ( k ) , i qs ( k − 1) }are used as the inputs to s s s qs s s the SNC-NN Model. The outputs are the direct and quadrature axis rotor fluxes { Ψ dr ( k ) , Ψ qr (k ) }. The block diagram of SNC-NN based flux estimator is shown in Figure 4. The vector controlled IM drive is the variable frequency drive. Hence, equal number of data sets for all operating conditions is used to train the network. Around 11,266 data sets are obtained from the IFOC System for various operating conditions. In the literature, it is reported that the change in Rs may go upto 50% (B. Karanayil et al., 2007, 2005). Hence, to make SNC-NN robust to parameter variation, maximum of 50% change in Rs variation is incorporated in the training data sets. The activation function for hidden layers and output layer is chosen as tan-sigmoid and pure linear function respectively. The SNC-NN is trained with input/output data using LM algorithm for the required Mean Square Error (MSE) of 1.88876×10-6.The obtained SNC-NN model for flux estimation has the structure 8-13(h)-2 (h-hidden layer with one neuron). The obtained SNC-NN model for flux estimation replaces the conventional voltage model in the RF-MRAS to form “robust RF-MRAS”. 4. Performance of Proposed Robust RF-MRAS based Speed Estimator The performance of proposed robust RF-MRAS scheme is tested for speed estimation for various operating conditions extensively through MATLAB simulations. Sample results for the major test conditions are presented in the following sections. 1) Test 1- Stair Case Speed Transients from 148 to 0 to −148 rad/sec at No Load: In this test, the IM drive is subjected to a stair case speed commands from 148 rad/sec to zero speed in a series of five 40 rad/sec steps continuing to −148 rad/sec, at no load. The performance of robust RF-MRAS is shown in Figure 5. The rotor fluxes estimated from the proposed flux estimator tracks the actual with negligible error for all the speed commands including the zero speed. The speed estimated from the proposed MRAS scheme is also found to closely track with the actual. The results depict Stable operation of the proposed MRAS scheme, particularly around zero speed. 2) Test 2- Load Torque Change from 0% to 100% at 148rad/sec: The test 2 examines the load torque disturbance capability of the proposed MRAS based speed estimation scheme. The drive is operated with reference speed of 148rad/sec. 100% step change in load torque is applied at 1.5sec. The proposed robust MRAS shows better steady state and dynamic performance with negligible error between the actual 4
  • 5.
    Control Theory andInformatics www.iiste.org ISSN 2224-5774 (print) ISSN 2225-0492 (online) Vol 2, No.3, 2012 and estimated speed, as shown in Figure 6. The estimated rotor speed undershoots similar to actual speed and settles faster with the actual as soon as the step change in load torque is applied. 3) Test 3- Load Torque Change from 100% to 50% at 148rad/sec: The test 3 also examines the load torque change capability of the robust RF-MRAS. The drive is initially operated with the speed command of 148rad/sec with 100% load condition and suddenly the load torque is reduced to 50% at 1.5sec. In this case also, the speed estimated from the proposed robust RF-MRAS is found to closely match with the actual with negligible error. The estimated speed overshoots similar to the actual speed and settles faster with the actual as soon as the load torque is suddenly reduced to 50%, as presented in Figure 7. 4) Test 4- ±148 rad/sec Speed at No Load: The test 4 examines the speed reversal capability of proposed speed estimation scheme. Initially, the drive is operated with the speed command of 148rad/sec. The slow speed reversal is taking place during 1.5-2 sec. The command speed is fixed to -148rad/sec after 2sec. The performance of proposed speed estimation scheme is shown in Figure 8. The proposed speed estimation scheme shows better performance. The speed estimated is found to closely match with the actual with negligible error. The proposed MRAS scheme works for wide range of operating conditions from 148 (rad/sec) to -148 (rad/sec) including zero speed operation. The error between the actual and the estimated speed from the proposed RF-MRAS for various operating conditions are consolidated and presented in Table I. The error in the speed estimated from the proposed MRAS scheme is found to be within ±0.4% for normal operating speeds. At very low operating speeds, the error is found to be within ±1.4%. 4. Performance Comparison of Proposed robust RF-MRAS and Conventional RF-MRAS based speed Estimator for Stator Resistance Variation The performance of proposed robust RF-MRAS and conventional RF-MRAS is tested for step change in stator resistance variation. Of course, in a real drive, the stator resistance never undergoes abrupt variations in response to temperature change due to the large thermal time constant. The step variation represents an extreme case and is used to show the robustness of the proposed MRAS. The effect of Rs variation is investigated at very low speed of 1rad/sec with 50% load condition. Two different cases for stator resistance detuning are considered. (a) Slight Rs detuning: The actual Rs of the induction motor are slightly detuned with respect to the nominal ones, as follows: ∆Rs = −5% (6) Rs In this case, 5% step change in Rs is effected at 2sec. The locus diagram of rotor fluxes for the robust SNC-NN model and voltage model are presented in Figure 9(a) and (b) respectively. It is understood that the locus diagram of rotor fluxes of robust SNC-NN model closely tracks the locus of the actual flux and it is centered on the origin similar to the actual flux. The radius of the locus of the proposed flux estimator is also found to be similar to the actual flux. In the case of voltage model based flux estimator, the locus of rotor fluxes is not centered on the origin and it is shifted away from the origin approximately 0.05433wb. The radius of the locus of the voltage model based flux estimator is also observed to get increased approximately by 4.777%. Hence, the proposed robust SNC-NN based flux estimator is found to estimate the flux components with good accuracy even when there is change in the Rs with d and q-axis rotor flux MSE of 1.124×10-6 and 1.723×10-6 respectively. The speed estimated from the robust RF-MRAS and conventional RF-MRAS is presented in Figure 10(a) and (b) respectively. From the results obtained, it is obvious that the speed estimated from the robust RF-MRAS tracks closely the actual speed even when there is a change in the Rs and the error in the speed estimation is almost negligible. But, the speed estimated from the RF-MRAS fluctuates between -0.1798 (rad/sec) to 1.0873 (rad/sec). 5
  • 6.
    Control Theory andInformatics www.iiste.org ISSN 2224-5774 (print) ISSN 2225-0492 (online) Vol 2, No.3, 2012 4.2 Large Rs detuning: In many real applications, the Rs may vary on ranges which are larger than those considered in previous section. In order to check the robustness of the proposed speed estimator in the presence of larger detuning, the actual Rs of the induction motor are largely detuned with respect to the nominal ones, as follows: ∆Rs = −50% (7) Rs 50% step change in Rs is effected at 2sec. The locus diagram of rotor fluxes for the proposed robust SNC-NN model and voltage model are presented in Figure 11 (a) and (b) respectively. From the results obtained, it is observed that even in the case of large parameter detuning, the locus of the robust SNC-NN model tracks the actual flux locus very well. But the centre of the locus of flux estimated from the voltage model is shifted largely away from the origin approximately 0.3741wb which is 588.569% times larger than the previous one. The radius is also observed to get increased approximately by 56.871% which is much larger than the previous one. The robust speed estimation is observed from the proposed speed estimator even in the case of large parameter detuning which is presented in Figure 12(b). The speed estimated using RF-MRAS oscillates between - 29.6098 (rad/sec) to 0.3144 (rad/sec) which is evident from Figure 12 (a). Thus the centre and radius of the locus of flux estimated from the voltage model keeps on increases with increase in Rs. This leads to increase of oscillation in the estimated speed using voltage model. The conventional RF-MRAS can also be made robust to Rs variation with an additional on-line Rs estimator which would increase the complexity of the drive system. Thus the NN based estimator, trained with parameter variations result in the robust NN based flux estimator. The robust NN based estimator used as the reference model in RF-MRAS which result in the robust RF-MARS. This in turn results in robust speed estimation even in the presence of Rs variation. 5. Conclusion This paper proposes a robust RF-MRAS for speed estimation over wide operating range in sensorless IM drives. The robust data based flux estimator is designed using SNC-NN model with data including Rs variation to avoid the requirement of separate need for on-line Rs estimator. The designed robust NN based flux estimator is proposed to replace the conventional voltage model in RF-MRAS to from a robust RF-MRAS. The performance of proposed MRAS is extensively investigated for various operating conditions. The proposed MRAS is shown to work for wide range of operating conditions including zero speed. The error in the speed estimated from the proposed MRAS scheme is found to be within ±0.4% for normal operating speeds. At very low operating speeds, the error is found to be within ±1.4%.The robustness of proposed MRAS scheme is illustrated for parameter variation and found to outperform the conventional RF-MRAS scheme. The advantages of the Proposed MRAS scheme are: independent of stator resistance, the reference model in proposed robust RF-MRAS is free from the integrator related problems, and the reference model in the proposed MRAS is computationally less rigorous as compared to the integral equations as involved in the reference model of conventional RF-MRAS. Thus the proposed robust RF-MRAS based speed estimation scheme is shown to perform well under all operating conditions including Rs variation. Hence it is concluded that a robust RF-MRAS based speed estimator is a promising technique for speed estimation in sensor-less vector controlled IM drives. APPENDIX The parameters of the induction machine used for simulation are given in the table shown below. INDUCTION MOTOR PARAMETERS Parameters Values Parameters Values Rated Power 1.1kW Stator Resistance (Rs) 6.03 Rated voltage 415V Rotor Resistance (Rr) 6.085 Rated current 2.77A Magnetizing Inductance (Lm) 0.4893H Type 3 Ph Stator Inductance (Ls) 0.5192H Frequency 50Hz Rotor Inductance (Lr) 0.5192H Number of poles 4 Total Inertia (JT) 0.011787Kgm2 Rated Speed 1415RPM Friction Coefficient (B) 0.0027Kgm2/s 6
  • 7.
    Control Theory andInformatics www.iiste.org ISSN 2224-5774 (print) ISSN 2225-0492 (online) Vol 2, No.3, 2012 References Shady M.Gadoue, Damian Giaouris, John W.Finch (2009) Sensorless Control of Induction Motor Drives at very Low and Zero Speeds Using Neural Network Flux Observers. IEEE Transactions on Industrial Electronics 56(8): 3029-3039.doi: 10.1109/TIE.2009.2024665 S.Maiti, C. Chakraborty, Y.Hori and M.C. Ta (2008) Model reference adaptive controller-based rotor resistance and speed estimation techniques for vector controlled induction motor drive utilizing reactive power. IEEE Transactions on Industrial Electronics 55(2): 594-601. doi: 10.1109/TIE.2007.911952 S.Maiti and C. Chakraborty (2010) A new instantaneous reactive power based MRAS for sensorless induction motor drive. Simulation Modelling Practice and Theory 18: 1314-1326. doi: 10.1016/j.simpat.2010.05.005 P. Vas (1998), Sensorless Vector and Direct Torque Control, NewYork:Oxford Univ. Press Colin Schauder (1992) Adaptive Speed Identification for Vector Control of Induction Motors without Rotational Transducers. IEEE Transactions on Industry Applications 28(5).1054-1061 Bimal K. Bose (2005) Modern Power Electronics and AC Drives. Prentice-Hall. India J.Holtz, J.Quan (2003) Drift- and Parameter-Compensated Flux Estimator for Persistent Zero-Stator- Frequency Operation of Sensorless-Controlled Induction Motors. IEEE Transactions on Industry Applications 39(4): 1052-1060.doi: 10.1109/TIA.2003.813726 B.K.Bose, N.R.Patel (1997) A Programmable Cascaded Low-Pass Filter-Based Flux Synthesis for a Stator Flux-Oriented Vector-Controlled Induction Motor Drive. IEEE Transactions on Industrial Electronics 44(1):140-143. J.Hu, B.Wu (1998) New Integration Algorithms for Estimating Motor Flux over a Wide Speed Range. IEEE Transactions on Power Electronics 13(5):969-977 B. Karanayil, M.F.Rahman and C.Grantham (2007) Online Stator and Rotor Resistance Estimation Scheme Using Artificial Neural Networks for Vector Controlled Speed Sensorless Induction Motor Drive. IEEE Transactions on Industrial Electronics 54(1):167-176. doi: 10.1109/TIE.2006.888778 B. Karanayil, M.F.Rahman and C.Grantham (2005) Stator and Rotor Resistance Observers for Induction Motor Drive Using Fuzzy Logic and Artificial Neural Networks. IEEE Transactions on Energy Conversion 20(4):771- 780. doi: 10.1109/TEC.2005.853761 N. Jaalam, A.M.A.Haidar, N.L.Ramli, N.L.Ismail and A.S.M.Sulaiman (2011) A Neuro-fuzzy Approach for Stator Resistance Estimation of Induction Motor. International Conference on Electrical, Control and Computer Engineering 394-398. K.S.Narendra, K.Parthasarathy (1990) Identification and Control of Dynamical Systems Using Neural Networks. IEEE Transactions on Neural Networks 1(1):4-27 Luiz.E.B.daSilva,B.K.Bose,Joao.o.p.Pinto (1999) Recurrent-Neural-Network-Based Implementation of a Programmable Cascaded Low-Pass Filter Used in Stator Flux Synthesis of Vector-Controlled Induction Motor Drive. IEEE Transactions on Industrial Electronics 46(3):662-665 A.Venkadesan, S.Himavathi, and A.Muthuramalingam (2010) Design of Feed-Forward Neural Network Based On-line Flux Estimator for Sensor-less Vector Controlled Induction Motor Drives. International Journal of Recent Trends in Engineering and Technology 4(3):110-114 A.Muthuramalingam, A.Venkadesan and S.Himavathi (2010) On-Line Flux Estimator using Single Neuron Cascaded Neural Network Model for Sensor-less Vector Controlled Induction Motor Drives. (ICSDC-2010), Manipal Insititute of Technology, Manipal, India: 96-100 7
  • 8.
    Control Theory andInformatics www.iiste.org ISSN 2224-5774 (print) ISSN 2225-0492 (online) Vol 2, No.3, 2012 Solid State IM Drive Systems va ia Input Supply PWM C Inverter IM vc ic ωr ψ PWM-a ref PWM-b ψs Rotor dr Flux PWM-c s ψ qr Oriented ω Controller r,ref ωr,est ωr,est Speed Estimator Figure 1. Sensor-less Vector Controlled IM Drives showing the requirement of Speed Estimator v dq Reference Model s Ψ qr i dq s Ψ dr Ψ 'dr s ξ Adaptive Model Ψ 'qr s ω r ,est Adaptive Mechanism (PI-Controller) Figure 2. RF-MRAS based Speed Estimator 8
  • 9.
    Control Theory andInformatics www.iiste.org ISSN 2224-5774 (print) ISSN 2225-0492 (online) Vol 2, No.3, 2012 p p p 1 2 R Layer 1 1 w 1,1 1 1 n a ∑ 1 f 1 1 1 2,1 w 1,R b 1 1 w 1,1 Layer 2 w m ,1 1,1 2 w 1,1 2 2 n a ∑ 1 f 2 1 2 w 1,R b 2 1 m ,2 w1,1 Layer m m w 1,1 m m n a m ∑ 1 f m 1 w 1, R b m 1 Figure 3. SNC-NN with multiple inputs/single output where, p - Input vector, p = [1, 2, ...R] m, k Link weight of neuron ‘i’ of layer ‘m’ for input w i, j - from neuron ‘j’ of layer ‘k’. m Input weight of neuron ‘i’ of layer ‘m’ for w i,R - external input ‘R’. m b i - bias for neuron ‘i’ of layer ‘m’. m Activation functions of all neurons in a layer f - ‘m’. m a i - Output of neuron ‘i’ of layer ‘m’ s v ds ( k ) s v ds ( k − 1) s v qs ( k ) s Ψ dr ( k ) s v qs ( k − 1) SNC-NN Based s Flux Estimator s i ds ( k ) Ψ qr ( k ) s i ds ( k − 1) s i qs ( k ) s i qs ( k − 1) Figure 4. The Inputs and Outputs of SNC-NN based Flux Estimator 9
  • 10.
    Control Theory andInformatics www.iiste.org ISSN 2224-5774 (print) ISSN 2225-0492 (online) Vol 2, No.3, 2012 (a) (b) Figure 5. Performance Curves for Test Condition-1 : (a) Rotor Fluxes (b) Rotor Speed (a) (b) Figure 6. Performance Curves for Test Condition-2 : (a) Rotor Fluxes (b) Rotor Speed (a) (b) Figure 7. Performance Curves for Test Condition-3 : (a) Rotor Fluxes (b) Rotor Speed (a) (b) Figure 8. Performance Curves for Test Condition-4 : (a) Rotor Fluxes (b) Rotor Speed 10
  • 11.
    Control Theory andInformatics www.iiste.org ISSN 2224-5774 (print) ISSN 2225-0492 (online) Vol 2, No.3, 2012 (b) (b) Figure 9. Locus of Rotor Fluxes with Slight Rs Detuning: (a) Voltage Model (b) Robust SNC-NN Model (b) (b) Figure 10. Rotor Speed with Slight Rs Detuning: (a) RF-MRAS (b) Robust RF-MRAS (b) (b) Figure 11. Locus of Rotor Fluxes with Large Rs Detuning: (a) Voltage Model (b) Robust SNC-NN Model (c) (b) Figure 12. Rotor Speed with Large Rs Detuning: (a) RF-MRAS (b) Robust RF-MRAS 11
  • 12.
    Control Theory andInformatics www.iiste.org ISSN 2224-5774 (print) ISSN 2225-0492 (online) Vol 2, No.3, 2012 TABLE I PERFORMANCE OF THE PROPOSED RF-MRAS BASED SPEED ESTIMATOR FOR VARIOUS SPEED COMMANDS Command Actual Speed Estimated Speed using Speed %Error (rad/sec) Robust RF-MRAS (rad/sec) (rad/sec) 148 147.9998 147.9255 0.05022 75 75.0015 74.9623 0.05160 35 34.9976 34.9891 0.02428 25 25.0012 24.9966 0.01839 15 14.9996 14.9971 0.01666 5 4.9884 5.0074 0.38088 12
  • 13.
    This academic articlewas published by The International Institute for Science, Technology and Education (IISTE). The IISTE is a pioneer in the Open Access Publishing service based in the U.S. and Europe. The aim of the institute is Accelerating Global Knowledge Sharing. More information about the publisher can be found in the IISTE’s homepage: http://www.iiste.org The IISTE is currently hosting more than 30 peer-reviewed academic journals and collaborating with academic institutions around the world. Prospective authors of IISTE journals can find the submission instruction on the following page: http://www.iiste.org/Journals/ The IISTE editorial team promises to the review and publish all the qualified submissions in a fast manner. All the journals articles are available online to the readers all over the world without financial, legal, or technical barriers other than those inseparable from gaining access to the internet itself. Printed version of the journals is also available upon request of readers and authors. IISTE Knowledge Sharing Partners EBSCO, Index Copernicus, Ulrich's Periodicals Directory, JournalTOCS, PKP Open Archives Harvester, Bielefeld Academic Search Engine, Elektronische Zeitschriftenbibliothek EZB, Open J-Gate, OCLC WorldCat, Universe Digtial Library , NewJour, Google Scholar