大家好,我是海拥。今天给大家带来的是一篇关于阿里云ECS免费搭建WordPress个人博客网站的教程。
前期准备工作
我是在阿里云免费领取的三个月云服务器ECS 1核2GB版本。
注意:试用的时候预装应用记得选择WordPress。
然后进入到我们的控制台,点击远程链接,连接时需要输入密码,不记得密码的小伙伴可以重置一下密码,然后再登录。
登录上之后就是这样。
然后我们可以输入命令
cat /root/ReadMe 获取到 WordPress admin password,其他的也可以先记一下,这个等会登录WordPress后台要用到的。
安全组配置规则
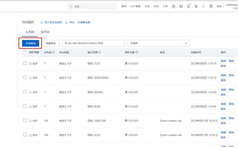
然后回到我们控制台,点击安全组,配置规则
我们需要放行安全组端口(80、443、21、20000~30000),点击手动添加
然后在目的中选择80,源中选择0.0.0.0/0,点击保存即可,其他几个端口也是一样的步骤。
访问WordPress默认网站主题
全部都放行之后我们就可以通过浏览器访问服务器公网 IP 来访问WordPress的默认主题网站,如下:
http://< 公网 IP >
访问WordPress网站后台
然后我们访问网站后台 http://< 公网 IP >/wp-admin 默认用户名是admin,密码就是上面我让大家保存的 WordPress admin password,登录后会是下面这个样子。
我们可以在外观主题中找一款自己喜欢的模板
我选的是 ColorPress
域名解析
如果有自己的域名,我们可以将此ip解析一下,绑定域名。这里我给大家演示一下如何绑定域名,首先来到域名解析的管理后台,点击 haiyong.site。
这里记录类型就默认选择A,主机记录,也就是域名的前缀,例如我这里用的是blog,访问 blog.haiyong.site 即可看到我们创建的网站
站点基本设置
接下来教大家如何优化博客,首先点击设置,常规中我们可以先修改一下站点标题、副标题、WordPress地址、站点地址(URL)和管理员电子邮箱地址。
发布文章
其实很简单,在文章一栏点击写文章
可以添加分类和标签,编辑好内容点击发布即可
修改链接格式
第一篇文章就发布完成了,这个链接里带着汉字,也不符合我们的习惯,这里我们可以在后台的设置-固定链接中修改。
我选择的是自定义结构,/%post_id%/,现在链接看起来简洁多了:http://blog.haiyong.site/6/
在外观-菜单中可以编辑菜单,分类/页面/文章/自定义链接都可以放在菜单中。
编辑好之后就可以看到啦。
到这里我们就完成了一个基本的个人博客网站,还有可以不断优化,慢慢完善的地方,这里我给大家分享另一个我搭建的WordPress个人博客站点:https://code.haiyong.site/
采用的是WordPress子比主题,功能挺全,也优化了几个月了,目前运行良好。有什么问题也欢迎大家在评论区提出或者私信我。




















